德國KRACHT溢流閥SPVF 25 C1 G1 A07上海維特銳現貨有售
KRACHT有限公司成立于1911年,總部位于德國,至今已有超過100年的悠久歷史。KRACHT是世界的流體控制專家,通過其遍布的銷售支持、工程網絡以及生產基地,實現了生產和產品供應。KRACHT是一家中小型的家族企業,專業從事流體控制產品的生產、研發及銷售工作。如今,KRACHT共有員工310多名,總部位于德國韋爾多爾,另外有85名員工在匈牙利的布達佩斯為匈牙利客戶提供產品服務。KRACHT產品范圍廣泛,主要以泵系列產品著稱,包括高壓輸送泵、齒輪泵、高壓齒輪泵齒輪馬達等。KRACHT重視人才的發展,KRACHT認為,優秀的員工才能成就優秀的企業,才能保持企業經久不衰的生命力。KRACHT提倡激情工作,激勵員工創造出創新的產品,不斷研發出新的技術。正因為如此,KRACHT產品質量不斷提高,性能也越來越好。KRACHT的設計中心的資源和能力可以使KRACHT與客戶在產品設計以及產品原型方面密切合作。KRACHT國際生產中心可將這些設計變為現實,并且可以為各地的用戶提供及時的供貸。所有這些都有助于KRACHT的客戶,通過更好的設計、更低的成本以及更好的產品供應能力,來提高自己產品的競爭優勢。
德國KRACHT產品主要有:KRACHT齒輪泵、KRACHT輸送泵、KRACHT流量計、KRACHT顯示器、KRACHT測量儀、KRACHT高壓齒輪泵、KRACHT齒輪馬達、KRACHT閥等。
德國KRACHT溢流閥SPVF 25 C1 G1 A07上海維特銳現貨有售

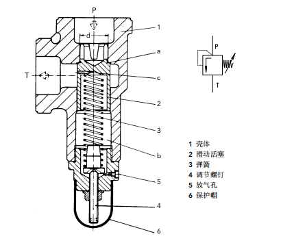
滑動活塞2在壓縮彈簧3作用下壓在環形區域a上。因此與泵相通的P口同與油箱相通的R口被直徑d處的密封隔離開。一旦工作壓力達到由調節螺釘4調定的壓力,滑動活塞2開始卸荷液壓油至油箱。彈簧腔b由孔c進行壓力補償。開始時,彈簧腔b一定要通過放氣孔5(六角螺釘)進行排氣。
閥垂直安裝,使壓力調定量垂直向下。
該溢流閥有4種壓力調節范圍,這是因為彈簧的壓縮比決定了每種彈簧只能覆蓋有限的壓力調節范圍。

SPV/SPVF是直動式、滑動活塞式溢流閥。連接于管路中,對低壓液壓回路的壓力進行限定。壓力為20(30)bar。連接口可以是SAE(3000psi)法蘭口,也可以是惠氏管螺紋口。
KRACHT泄壓閥是由針形閥、壓力表、主閥、導閥及連接管等部件組成。它是水力控制閥的一種。主閥被隔膜分成上、下兩部分,隔膜下腔為水流通道,上腔為控制室,由它來控制主閥閥瓣的啟閉。導閥本身就是一個克拉克KRACHT泄壓閥,它也有控制室和水流通道,閥瓣啟閉由控制室控制。針形閥即節流閥,它控制著連接管中水的流量。
上海維特銳實業發展有限公司,發票隨貨,服務優良,信譽保證。本公司德國設有分公司,歡迎新老客戶有歐美品牌詢價都可以隨時聯系我!
項目支持:
1,德國 KRACHT 克拉克(流量計、指示器可提供現場選型配套技術支持,齒輪泵, 閥,備件采購價格有優勢)
2,德國 VSE 威仕 (流量計提供項目選型配套,技術支持,維修)
3,另外還有很多品牌也很有優勢:
Beinlich百利泵(可提供選型)
RICKMEIER瑞克梅爾泵(可提供選型)
MEISTER流量計
KOBOLD流量計、溫度開關
ATOS液壓電磁閥、泵、壓力繼電器
EATON伊頓/VICKERS威格士泵、閥
REXRTOH力士樂液壓閥、葉片泵
HYDAC賀德克過濾器、濾芯、傳感器
PARKER派克閥、接頭、齒輪泵
WEBTEC流量計
MTS位移傳感器
AIGNEP快插接頭、氣動三聯件、氣動閥、氣缸、流體閥