德國KRACHT溢流閥SPVF 40 A2 F1 A12結構特點及訂貨代碼介紹
德國KRACHT系列產品使用范圍廣泛,主要應用:驅動技術、汽車制造、建筑和農業機器、采礦、化學和石油化學、計量技術能源技術、顏料和油漆工業、傳動技術、制冷機器、電站建造、航海、機器制造、海上技術、過程技術、PU技術、機床、風能設備等。KRACHT公司通過多年的發展,KRACHT系列產品在世界各國業內獲得廣泛贊許和認同,KRACHT 在各地有多個工廠,而KRACHT馬達、齒輪泵等產品廣泛用于鋼鐵行業和計量行業。KRACHT公司長期以來對產品的不斷創新和優化,通過對產品的不斷更新換代及大量新產品的推出,讓用戶體驗到更好的品質和更高的效率。KRACHT 始終堅持對品質的精益求精及對細節嚴謹精神的產品理念,KRACHT以其優良的產品質量、熱情的服務的技術為導向,為工業領域的發展作出了重要貢獻,受到行業內的廣泛認同。
KRACHT主要產品:
齒輪泵、齒輪流量計、渦輪流量計、泄壓閥、通用閥、液壓馬達
KRACHT主要型號:
KF 0、VC 0.01、ADP.TM、DBD、DVB、KM
德國KRACHT溢流閥SPVF 40 A2 F1 A12結構特點及訂貨代碼介紹

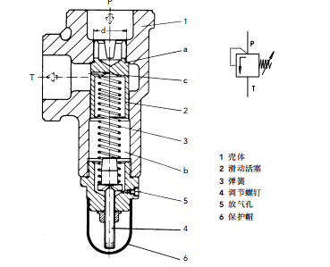
滑動活塞2在壓縮彈簧3作用下壓在環形區域a上。因此與泵相通的P口同與油箱相通的R口被直徑d處的密封隔離開。一旦工作壓力達到由調節螺釘4調定的壓力,滑動活塞2開始卸荷液壓油至油箱。彈簧腔b由孔c進行壓力補償。開始時,彈簧腔b一定要通過放氣孔5(六角螺釘)進行排氣。
閥垂直安裝,使壓力調定量垂直向下。
該溢流閥有4種壓力調節范圍,這是因為彈簧的壓縮比決定了每種彈簧只能覆蓋有限的壓力調節范圍。

SPV/SPVF是直動式、滑動活塞式溢流閥。連接于管路中,對低壓液壓回路的壓力進行限定。壓力為20(30)bar。連接口可以是SAE(3000psi)法蘭口,也可以是惠氏管螺紋口。
克拉克KRACHT泄壓閥可以水平安裝,也可以垂直安裝,但安裝時應注意閥體水流進出口方向,不能搞錯。
一股情況下,一個消防給水系統可以只安裝一個克拉克KRACHT泄壓閥。
如克拉克KRACHT泄壓閥排水口位置較遠,泄水管路過長(>2O),泄水管口徑宜比克拉克KRACHT泄壓閥規格放大一檔,以防止泄流不暢產生背壓,保證克拉克KRACHT泄壓閥閥前管網壓力穩定。
消防給水系統在試壓過程中,如系統試驗壓力高于所選用克拉克KRACHT泄壓閥的公稱壓力,應關閉克拉克KRACHT泄壓閥的切斷閥門,以免克拉克KRACHT泄壓閥損壞或失靈。
上海維特銳實業發展有限公司,發票隨貨,服務優良,信譽保證。本公司德國設有分公司,歡迎新老客戶有歐美品牌詢價都可以隨時聯系我!
項目支持:
1,德國 KRACHT 克拉克(流量計、指示器可提供現場選型配套技術支持,齒輪泵, 閥,備件采購價格有優勢)
2,德國 VSE 威仕 (流量計提供項目選型配套,技術支持,維修)
3,另外還有很多品牌也很有優勢:
Beinlich百利泵(可提供選型)
RICKMEIER瑞克梅爾泵(可提供選型)
MEISTER流量計
KOBOLD流量計、溫度開關
ATOS液壓電磁閥、泵、壓力繼電器
EATON伊頓/VICKERS威格士泵、閥
REXRTOH力士樂液壓閥、葉片泵
HYDAC賀德克過濾器、濾芯、傳感器
PARKER派克閥、接頭、齒輪泵
WEBTEC流量計
MTS位移傳感器
AIGNEP快插接頭、氣動三聯件、氣動閥、氣缸、流體閥